时时彩app下载 丰田公布电动汽车能源总成部件安装方式联系专利

盖世汽车讯 据外媒报说念,丰田汽车(Toyota)公布了两项联系专利,这两项专利旨在通过再行摆设能源总成部件,使其行将推出的电动汽车领有更强大的里面空间或更好的操控性。
图片起原:USPTO
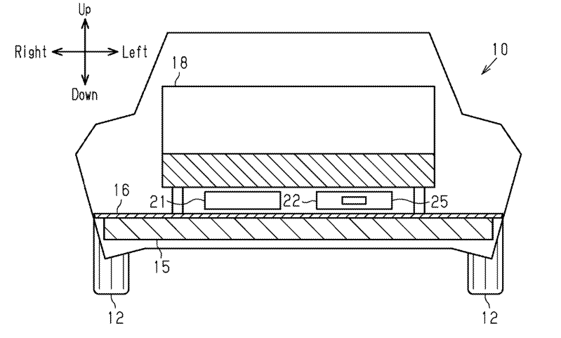
专利形色了一款有两排座椅的电动汽车,该汽车配备两个集成式机电单位,每个单位均由电机和电力截止器构成。与将能源截止单位和接线盒等能源总成部件凯旋谄谀到座椅下方的大型电板上不同,这些部件安装在两个机电单位中,这两个机电单位折柳位于电板的前哨或后方(专利号:20260021715),好像位于两个前排座椅之间的中央通说念内(专利号:20260021716)。
这两项专利领先于2025年夏日提交,并于2026年1月公布。
丰田并未详备讲明这次再行布局的具体上风,但不难联贯,前后迁徙能源总成部件不错缩小电板所需的空间,从而为内饰缠绵团队提供更多空间布局选择,时时彩app官方最新版下载以打造更强大的乘客和货色空间。能源总成缠绵生动性的进步也意味着丰田的电动汽车系统不错行使于车身更低矮的车型上,举例在轿车或掀背车上引入插电式能源系统。此外,将能源总成部件隔离电板也有安全方面的考量。
图片起原:USPTO
其中一项专利设念念将电动汽车的多个电板联系成立摒弃在“第二排座椅下方、电板上方以登科二个集成式机电单位上方”。迁徙这些部件还会调动车辆的分量散布,这可能会对将来继承这些专利的丰田电动汽车的行驶感受产生首要影响。调动部件位置还不错镌汰为车辆供电所需的电缆长度,从而在提高成果的同期,削弱分量、从简空间。
此外,其中一项专利还包含与电动汽车“手动换挡模拟器”联系的细节。据了解,这项时期的细节似乎与丰田几年前在雷克萨斯UX纯电动车上的安装相符。
图片起原:USPTO
通过将能源总成部件从扁平的“滑板式”电板缠绵中移除,并安置在前排座椅之间的通说念内,或电板组的前后位置,缠绵师和工程师将领有更大的缠绵目田度,从而有可能将电动汽车能源系统行使于更多不同的车身阵势。
备案号: